Uma patente recente da Samsung revelou planos de integrar smartphones Galaxy com óculos de realidade estendida via controle por movimento ocular. O documento foi publicado pela Administração Nacional de Propriedade Intelectual da China (CNIPA).
- Óculos inteligente: saiba o que é que dá para fazer com eles
- Óculos futurista da Samsung já tem data de lançamento confirmada; o que esperar
O sistema descreve interação entre dois dispositivos: os óculos XR como primeiro aparelho e o smartphone como segundo. A tecnologia permite transferir tarefas entre os dispositivos em tempo real usando apenas o olhar.
Como funciona o controle por olhar
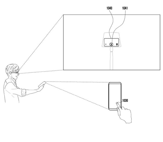
Conforme os documentos, os sensores integrados nos óculos rastreiam movimentos da cabeça e dos olhos do usuário. Enquanto as câmeras detectam em qual objeto ou área a pessoa está focada.
–
Entre no Canal do WhatsApp do Canaltech e fique por dentro das últimas notícias sobre tecnologia, lançamentos, dicas e tutoriais incríveis.
–
A confirmação do olhar do usuário em um objeto específico inicia a comunicação com o smartphone conectado. Em seguida, a interface XR envia sinais de controle ou sobreposições visuais através dos óculos para estender a funcionalidade do telefone.
Diagramas no documento ilustram a interação usando detecção de olhar e gestos.
Um usuário pode olhar para uma notificação ou aplicativo através dos óculos e continuar a tarefa instantaneamente no celular Galaxy.

Integração com ecossistema Galaxy
A tecnologia suporta sobreposições de objetos virtuais, registro de dispositivos IoT e controle adaptativo baseado na direção de visualização. Gestos do usuário também podem acionar comandos no sistema.
Com a novidade, a marca poderia construir um ecossistema imersivo conectando smartphones, wearables AR/XR e dispositivos domésticos inteligentes em uma única interface. A abordagem representa passo importante na estratégia de unificação de plataforma da Samsung.
Tarefas podem ser transferidas entre dispositivos sem interrupção. Por exemplo, visualizar um documento nos óculos e editar no smartphone Galaxy sem precisar tocar em nenhum dos aparelhos.
Módulos e componentes técnicos
Os óculos XR contam com módulo de display integrado além dos sensores de rastreamento. Câmeras capturam o campo de visão do usuário e identificam objetos no ambiente físico e virtual.
Comunicação entre os dispositivos acontece através de protocolos sem fio. O smartphone Galaxy processa comandos enviados pelos óculos e retorna informações visuais ou ações executadas.

Contudo, vale reforçar que a patente não confirma a chegada da tecnologia, nem uma previsão de lançamento. Porém, os documentos confirmam a pesquisa e o desenvolvimento da tecnologia.
Leia mais
- Headset Samsung Galaxy XR vai ser lançado ainda neste mês, revela site
- Oakley lança óculos inteligentes no Brasil com câmera 3K e Meta IA; veja o preço
- Óculos inteligente da Ray-Ban chegam ao Brasil com IA e câmera 3K; veja o preço
VÍDEO: Android XR | O que eu espero que não dê errado dessa vez com a nova versão do sistema operacional
Leia a matéria no Canaltech.